首页 / 培训赋能中心 / 技术知识分享 / 信创项目造价流程分析
信创项目造价流程分析
更新时间:2025-10-27 11:20:42

信创,即信息技术应用创新,以“国产化替代”为核心,覆盖芯片、操作系统、数据库、中间件、应用软件、硬件设备等全链条,其造价流程需兼顾国产化适配特性、政策合规要求、软硬件协同成本,与传统信息化项目相比,更强调“适配改造成本”。

当前,国内各省市已陆续发布一系列信创项目费用测算标准,对造价测算流程作出明确规范,其既遵循软件工程通用成本度量标准,又针对国产化改造的特殊性新增适配环节,形成兼具通用性与针对性的测算体系。

信创费用测算标准解读可点击查看详情:

信创是什么?一分钟带你搞懂!

【江苏省】《信息技术应用创新软件适配改造成本评估规范》(DB32/T4935-2024)-标准解读系列

【团标】《信息技术应用创新信息系统适配改造成本度量》(T/CCUA033—2024)-标准解读系列34

【浙江-宁波】《信息技术应用创新软件成本测算规范》(T/NBCF001-2023)-省市费用标准解读系列12


参考浙江丽水市发布的团体标准《应用系统信息技术应用创新改造成本测算规范》,将信创项目造价流程构建为“需求方-测算方”双向互动框架,全流程贯穿“准备-初审-测算-确认归档”4大核心步骤,具体如下:

图片


1、准备材料

需求方自行梳理信创改造相关材料,如项目建议书、可研报告、需求规格说明书、建设方案、信创改造需求方案等,明确信创改造需求,形成测算材料包提交至测算方。


2、材料初审

测算方对提交材料开展“三性审核”:一是完整性,核查是否覆盖全部必备材料;二是逻辑合理性,校验改造需求与建设方案的一致性;三是表述准确性,确认技术参数是否清晰无歧义。针对不符合条件的,反馈需求方重新整理材料,直至达标。


3、成本测算

1)确认测算范围

需求方与测算方需充分沟通,明确两大核心内容:一是测算边界,包括需改造的系统模块、数据范围、适配场景;二是测算规则,就成本计算公式、调整因子(如复用度、开发语言因子等)达成共识,形成互认的科学测算模型。

同时需界定信创改造模式(重构/改造/迁移),并结合架构特性确定测算方式:B/S架构按“基于现有应用系统程序代码信创改造”测算;C/S架构、B/S+C/S混合架构及成品软件,对重构部分部分内容进行测算。

图片

2)测算规模

规模测算以功能点方法为核心,建议采用 NESMA 或 IFPUG 标准实施。同时,需充分考虑潜在需求变更风险,通过规模调整因子对初始测算结果进行优化校准,确保规模数据贴合项目实际。

3)测算工作量

通过测算规模结果,结合所在行业领域生产率基准数据、软件特性等因素,通过调整因子对工作量测算结果进行调整。此外,可单独测算信创适配改造中各环节的工作量。

4)测算成本

根据工作量测算结果,结合项目所在城市的人月折算系数及行业平均人月费率,最终核算出信创项目总成本费用。

需注意的是,在成本测算过程中,其测算要求及内容步骤完全符合传统软件项目测算国标《软件开发成本度量规范》(GB/T 36964-2018),确保规模测算的行业一致性。

详细可查看:

【国标36964解读】《软件工程软件开发成本度量规范》(GB/T36964-2018)解读

功能点方法如何度量软件成本?从规模估算到成本确定的全流程解析。

目前,“软件造价喵”平台已支持全国各地50+功能点方法费用测算标准,可按功能点识别规则进行信创软件费用测算,有需求可借助平台完成核算。

图片


4、确认归档

测算方逆推验证,核对测算依据、公式、参数取值,确保结果无误;需求方对结果进行确认,对有异议的模块进行沟通修改,无异议后测算方签发并交付项目测算报告、功能点清单等材料,并归档成果材料完成项目测算收尾。

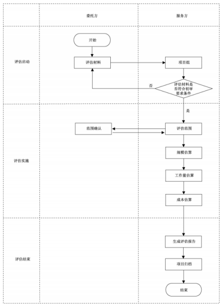
除此之外,江苏省地方标准《信息技术应用创新软件适配改造成本评估规范》(DB32/T 4935-2024)与浙江丽水标准规定的流程相似,从委托方和服务方两方出发,划分评估启动-评估实施-评估结束三个主要环节;

图片

《四川省信息技术应用创新项目费用测算标准》(征求意见稿)和《信息技术应用创新信息系统适配改造成本度量》(T/CCUA033—2024)两文件对信创项目费用测算流程划分基本一致,划分为“确认适配改造范围-明确费用科目-选择测算方法-测算信创项目费用”4个步骤,以传统项目评估流程为基础,结合信创项目特点进行规定;不同标准间对信创项目费用测算流程的差异,体现了各地区根据实际情况制定标准的灵活性。

图片


总结

信创项目造价流程是“通用软件工程成本度量标准 + 信创国产化改造场景适配”,既遵守GB/T 36964-2018等通用标准的核心逻辑,又针对信创改造的架构差异、适配需求、国产化软硬件购置等特有场景,补充了针对性的测算规则和参数。这一流程的明确,既是项目成本管控的重要工具,更是推动信创改造有序落地、实现信息安全自主可控的关键支撑。

微信联系
添加微信咨询
TOP
软件造价喵
立即登录
AI询价喵
立即登录